IT商事有限会社では、お客様のご要望を元に、あらゆる角度から「看板」を考え、開発・設計・製造及び販売を行っております。
※カラーは、黒半ツヤ、白、シルバーからお選び下さい。
(在庫切れの場合もあります。詳細はお問い合わせください。)
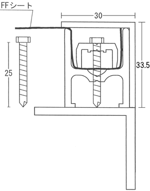
IT-86F(LEDモジュール使用)非開閉式
IT-100F(LEDモジュール使用) 非開閉式
IT-116F(LEDモジュール使用)開閉式
IT-130F(LEDモジュール使用)開閉式
壁面サイン・店舗ファサード。
IT-120F LED用フレーム
- FFシートとアクリル板、どちらも加工せず使用可能です。(アクリル板5mmまで対応。)
- 外照式看板にも適用。
- 開閉式ではありません。
壁面サイン・店舗ファサード。
IT-140F LED用フレーム
- LED光源に対応する薄型です。
- 薄くても開閉式ですので・メンテナンスも簡単に出来ます。
- テンションフレームの加工によりアクリル板も使用出来ます。
壁面サイン・店舗ファサード。
IT-150F LED用フレーム
- LED光源に対応する薄型です。
- 薄くても開閉式ですので・メンテナンスも簡単に出来ます。
- FFシートとアクリル板、どちらも加工せずに使用可能です。(アクリル板5mmまで対応)
壁面サイン・店舗ファサード。
IT-158F LED用フレーム
- LED光源に対応する薄型です。
- 薄くても開閉式ですので・メンテナンスも簡単に出来ます。
- テンションフレームを加工すれば、アクリル板にも使用可能です。
バリエーションと施工例
![]() |
![]() |
|
壁面サイン・店舗ファサード
化粧カバー・30mm・50mm・70mm から選べます。
IT-185F 正面打フレーム
- Mバーにより展張がより簡単。
- 開閉の時、パッチンと内付ストッパーのどちらでも使用可能です。
- 取付用Z金具により取付が簡単。(オプション)
- 雨除けカバーによりFFシートを雨ダレの汚れから守ります。(オプション)
- テンションフレームの加工によりアクリル板も使用出来ます。
壁面サイン・店舗ファサード
化粧カバー・5mm・15mm から選べます。
IT-185S 側面打フレーム
- 円形Mバーにより展張がより簡単。
- 開閉の時、パッチン錠と内付ストッパ、どちらでも使用可能です。
- 取付用Z金具により取付が簡単。(オプション)
- 雨除けカバーによりFFシートを雨ダレの汚れから守ります。(オプション)
- 5mmのカバーを装着すれば・有効表示面積が大きくとれます。
壁面サイン・店舗ファサード
テンションの構造が強固な為、大型用にも適しています。
化粧カバー・30mm・50mm・70mmと色々選べます。
IT-199F 正面打フレーム
- テンションフレームの加工によりアクリル板も使用出来ます。
- 蛍光灯、FLLED、LEDモジュール、どちらにも対応。
IT-199F アクリル使用 カットタイプ
FFシートを使用の場合3タイプの化粧カバーを用意
- 30mm幅・50mm幅・70mm幅の化粧カバーが選べます。
壁面サイン・店舗ファサード
テンションの構造が強固な為大型用にも適しています。
化粧カバー・5mm・15mm から選べます。
IT-199S 側面打フレーム
![]() |
![]() |
|
![]() |
![]() |
|
壁面サイン・店舗ファサード
化粧カバー・30mm・50mm・70mm から選べます。
IT-250F 正面打フレーム
- テンションフレームの加工によりアクリル板も使用出来ます。
壁面サイン・店舗ファサード
テンションの構造が強固な為大型用にも適しています。
化粧カバー・5mm・15mm から選べます。
IT-250S 正面打フレーム
袖看板
- 片面ははめ殺しですが・見た目左右対称ですので・袖看板として自然な仕上りです。
- 独自の橋桁構造アルミ押し型材により・歪みにくく丈夫です。
- 12mm長ネジを各ブラケットに上下4本使用するので強風に耐えられる設計です。
- ベースフレーム・テンションフレームを加工すればアクリル板も使用可能。
袖看板
- 両面開閉。
- 片面ははめ殺しですが・見た目左右対称ですので・袖看板として自然な仕上りです。
- 独自の橋桁構造アルミ押し型材により・歪みにくく丈夫です。
- 12mm長ネジを各ブラケットに上下4本使用するので強風に耐えられる設計です。
- ベースフレーム・テンションフレームを加工すればアクリル板も使用可能。
- LEDにも対応。
バリエーションと施工例
- IT-80F → 鉄骨アングル40mm → D=80mm(正面打ち)
- IT-80S → 鉄骨アングル30mm → D=80mm(側面打ち)
- IT展張レール
袖看板・両面看板・ポール看板
施工例
スタンド看板・A看板・壁掛看板
IT-32 パーツ一覧
- あらゆるシーンに対応。
- コーナーの連結部はアルミコーナー。
- 30mmの化粧カバーを装着すれば一層美しく仕上がります。
- 中桟は組み上がった後からでも入れられます。
- 取付用金具を使用すれば簡単に壁掛可能です。
バリエーションと施工例
IT展張レール
- FFシートやターポリン生地を展張するサインに最適です。
アルミ角パイプ

パッチン錠
- パッチン錠の替わりに内付ストッパーを使用すれば・突起物が無くなり美しい仕上がりになります。
ヒンジ
- ヒンジの板厚1.5mm(SUS)。
- ヒンジの芯棒4mm(SUS)。
- ヒンジ・ビス止下地・アルミ板厚2.4mm。ふた山のかかり有り。
- 防水テープにより・雨水の浸入を防ぐ。








